首页 >> 真空高温炉专区  >>  工业电炉系列  >>  高真空钼带炉,3D工业高性能热处理设备
推荐产品 实验室电炉 真空烧结炉 工业炉 真空炉系列

< >

高真空钼带炉,3D工业高性能热处理设备

产品型号:SLM-1300-30
产品品牌:od官方体育app
产品概述:
主要用于金属陶瓷材料、复合陶瓷材料、纳米相材料,梯度功能材料,介孔纳米热电材料,高熔点材料3D打印金属等材料的快速、高品位烧结,电子产品的高温清洁烧结。应用于大专院校、科研院所、工矿企业实验和生产中。 1、设备自动化程度高,可视化操作,结构简单。 2、该设备配置及配件采用国内外品牌,经严格检测手段,确保产品质量,保证设备优良运行,实验数据准确,效果真实,有效提高实验效率。

od官方体育app

主要技术指标


1、  结构:卧式,前开门;

2、  控制方式:触摸屏(昆仑通泰)+ PLC全自动控制(西门子);

3、  炉壳材料:内层304不锈钢;

4、  真空泵:分子泵+机械泵;

5、  有效使用空间:宽 300 x 高 300 x 400 mm;

6、 温度:工作温度1300℃, 最高温度:1350

7、 控制精度:±1℃;

8、 加热器:材料高温钼,圆周加热(一个控温热电偶,一个测温热电偶)

9、 真空度: 冷态极限:优于5x 10-4Pa(空炉,洁净), 工作优于5x 10-3Pa

10、  压升率:< 0.67Pa/h

11、  升温速率:0-15/min可控;

12、  料台承重:50Kg(不含托盘)

13、  温度均匀性:±7

14、电源要求: 3相5线制, 380V   50Hz;

15、总功率:约40kW;

16、水质要求:PH值:7-9

17、压缩空气:干燥无水,气压0.8-1MP

od官方体育appod官方体育appod官方体育appod官方体育appod官方体育appod官方体育appod官方体育app

炉体由炉壳、炉门、热屏蔽层、加热器等组成。

炉壳由筒体与法兰焊接组成,双层壳体焊接冷却水套,炉门为封头与法兰焊接,为方便清洁及放料,采用前炉门侧开门机构,材料为内层优质不锈钢。炉体经严格的焊接工艺外表喷漆处理;密封圈全部采用优质的氟橡胶圈密封。

热屏蔽层为3层钼与4层不锈钢结合体(按现场)。工件立柱采用钼合金材料,不仅强度高,抗变形,并且透光率高。

加热器包括电极与加热元件、温度测量。加热器为带状结构,材料为高温钼作为发热元件。配有一根热电偶温控仪控温使用。另配一根备用热电偶作为工艺测量用。


特别注意:

1:分子泵启动前必须先用真空泵将炉内压力抽至10pa以下,并打开挡板阀、下蝶阀,真空泵持续开不能断。

2:分子泵停止时,待分子泵完全停止后才可关闭阀门,真空泵。

、运行前检查事项:

A、打开冷水机,检查运行是否正常,水是否充足,务必保证全程不断水。

B、打开设备电流,检查是都有报警,各显示是否正常。

C、检查各气管连接是否正常。

D、手动泄压阀是否拧紧。

E、炉门是否锁紧

F、真空泵油是否处于正常液面。

G、运行时特别注意,进气压力不得 超过1个大气压,炉内压力不得超过20kpa。

H、手动进气排气是否顺畅。

I、设备运行中,若排气压力>上限压力  排气阀已打开,炉内压力还持续上升,立即打开手动泄压阀,并调小进气量。

、自动运行相关操作及事项

控制面板说明

A、真空烧成

1.     操作画面选择真空烧成,关闭压控仪外控开关

2.     参数设置画面,设置相关参数,即开加热真空度冷却结束温度上限压力

3.     工艺设置画面,设置升温曲线(最后结束语必须是-121)升温速率建议5℃/min左右

4.     点击操作画面→点击自动控制→点击自动运行启动即可运行。

5.     待电离规抽至6.7E-3以后,可设置压控气压,并在触摸屏控制界面,点击外控仪控制开关,即可对炉膛释压,达到设定气压。

6.     运行时加热观察三相电流是否均衡

7.     建议100℃以下开炉门

注意事项:

1.   每次运行前检查电阻硅值是否大于9.0EO(9pa)

2.   当电离规压力超过开加热真空度未加热时,轻微打开手动泄压阀或打开压控仪外控开关(大于开加热真空度)等电离规大于开加热真空度时立即关闭,重新触发加热程序

B、保压烧结(进气压力<排气压力)

1、操作画面选择:边进边排,关闭压控仪表外控开关。

2、参数画面设置相关参数,即进气压力、排气压力、洗炉膛设定压力值、排气次数、上限压力、冷却结束温度。

3、工艺设置画面:设置升温曲线。建议升温速率为5℃/min

4、打开所用气体阀门,其流速不超过3ml/s,尽量调小一点。

5、点击操作画面→点击自动控制→点击自动流动运行

6、注意观察气压、电流表

C、边进边排(进气压力=排气压力)

1、  操作画面选择:边进边排,关闭压控仪表外控开关。

2、参数画面设置相关参数,即进气压力、排气压力、洗炉膛设定压力值、排气次数、上限压力、冷却结束温度。

3、工艺设置画面:设置升温曲线。建议升温速率为5℃/min

4、打开所用气体阀门,其流速不超过3ml/s,尽量调小一点。

5、点击操作画面→点击自动控制→点击自动流动运行

6、注意观察气压、电流表




                


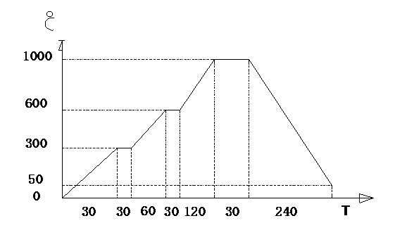
 二, 升温、恒温、降温曲线图:


od官方体育app

od官方体育appod官方体育appod官方体育appod官方体育appod官方体育appod官方体育appod官方体育appod官方体育app

  李总:138-1739-9656

od官方体育app

微信扫一扫