- 技术参数
Technical parameters
- 实验案例
Experimental cases
- 应用提示
Application Tips
- 配件详情
Accessory Details
主要技术指标
1、 结构:卧式,前开门;
2、 控制方式:触摸屏(昆仑通泰)+ PLC全自动控制(西门子);
3、 炉壳材料:内层304不锈钢;
4、 真空泵:分子泵+机械泵;
5、 有效使用空间:宽 300 x 高 300 x 深400 mm;
6、 温度:工作温度1300℃, 最高温度:1350℃
7、 控制精度:±1℃;
8、 加热器:材料高温钼,圆周加热(一个控温热电偶,一个测温热电偶);
9、 真空度: 冷态极限:优于5x 10-4Pa(空炉,洁净), 工作优于5x 10-3Pa
10、 压升率:< 0.67Pa/h;
11、 升温速率:0-15℃ /min可控;
12、 料台承重:50Kg(不含托盘)。
13、 温度均匀性:±7℃
14、电源要求: 3相5线制, 380V 50Hz;
15、总功率:约40kW;
16、水质要求:PH值:7-9
17、压缩空气:干燥无水,气压0.8-1MP
18、气氛:可通氢气、氮气、氩气等惰性气体保护






炉体由炉壳、炉门、热屏蔽层、加热器等组成。
炉壳由筒体与法兰焊接组成,双层壳体焊接冷却水套,炉门为封头与法兰焊接,为方便清洁及放料,采用前炉门侧开门机构,材料为内层优质不锈钢。炉体经严格的焊接工艺外表喷漆处理;密封圈全部采用优质的氟橡胶圈密封。
热屏蔽层为3层钼与4层不锈钢结合体(按现场)。工件立柱采用钼合金材料,不仅强度高,抗变形,并且透光率高。
加热器包括电极与加热元件、温度测量。加热器为带状结构,材料为高温钼作为发热元件。配有一根热电偶温控仪控温使用。另配一根备用热电偶作为工艺测量用。
特别注意:
1:分子泵启动前必须先用真空泵将炉内压力抽至10pa以下,并打开挡板阀、下蝶阀,真空泵持续开不能断。
2:分子泵停止时,待分子泵完全停止后才可关闭阀门,真空泵。
①、运行前检查事项:
A、打开冷水机,检查运行是否正常,水是否充足,务必保证全程不断水。
B、打开设备电流,检查是都有报警,各显示是否正常。
C、检查各气管连接是否正常。
D、手动泄压阀是否拧紧。
E、炉门是否锁紧
F、真空泵油是否处于正常液面。
G、运行时特别注意,进气压力不得 超过1个大气压,炉内压力不得超过20kpa。
H、手动进气排气是否顺畅。
I、设备运行中,若排气压力>上限压力 排气阀已打开,炉内压力还持续上升,立即打开手动泄压阀,并调小进气量。
②、自动运行相关操作及事项
控制面板说明:
A、真空烧成
1. 操作画面选择真空烧成,关闭压控仪外控开关。
2. 参数设置画面,设置相关参数,即开加热真空度、冷却结束温度、上限压力。
3. 工艺设置画面,设置升温曲线(最后结束语必须是-121)升温速率建议5℃/min左右
4. 点击操作画面→点击自动控制→点击自动运行启动即可运行。
5. 待电离规抽至6.7E-3以后,可设置压控气压,并在触摸屏控制界面,点击外控仪控制开关,即可对炉膛释压,达到设定气压。
6. 运行时加热观察三相电流是否均衡
7. 建议100℃以下开炉门
注意事项:
1. 每次运行前检查电阻硅值是否大于9.0EO(9pa)
2. 当电离规压力超过开加热真空度未加热时,轻微打开手动泄压阀或打开压控仪外控开关(大于开加热真空度)等电离规大于开加热真空度时立即关闭,重新触发加热程序
B、保压烧结(进气压力<排气压力)
1、操作画面选择:边进边排,关闭压控仪表外控开关。
2、参数画面设置相关参数,即进气压力、排气压力、洗炉膛设定压力值、排气次数、上限压力、冷却结束温度。
3、工艺设置画面:设置升温曲线。建议升温速率为5℃/min
4、打开所用气体阀门,其流速不超过3ml/s,尽量调小一点。
5、点击操作画面→点击自动控制→点击自动流动运行
6、注意观察气压、电流表
C、边进边排(进气压力=排气压力)
1、 操作画面选择:边进边排,关闭压控仪表外控开关。
2、参数画面设置相关参数,即进气压力、排气压力、洗炉膛设定压力值、排气次数、上限压力、冷却结束温度。
3、工艺设置画面:设置升温曲线。建议升温速率为5℃/min
4、打开所用气体阀门,其流速不超过3ml/s,尽量调小一点。
5、点击操作画面→点击自动控制→点击自动流动运行
6、注意观察气压、电流表
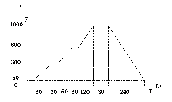
二, 升温、恒温、降温曲线图:







0






姓名:
电话:
留言: